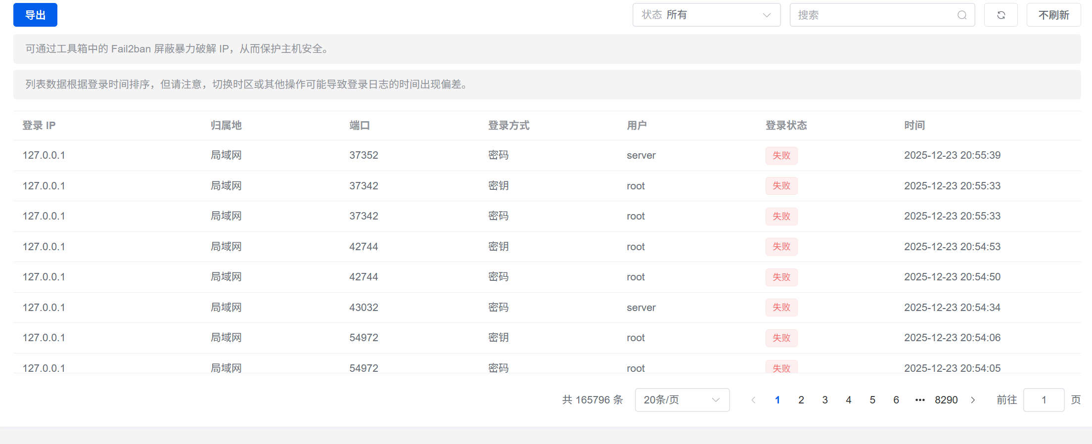
这个ssh本地健康检查怎么关闭呢

1Panel 版本:v2.0.15
操作系统(设备): ubuntu 20.04.6
关键截图:

我开放了ssh可以使用密码登陆
没有找到1panel可以关闭这个ssh检测的设置

这里是直接读的系统日志,不是 1panel 设置拦截和检测的